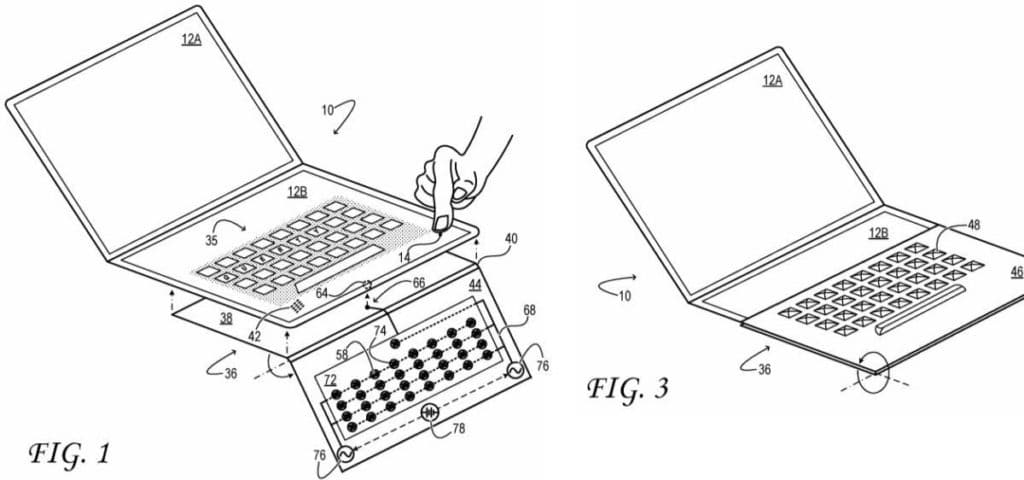
شرکت مایکروسافت تصمیم دارد تا در آینده نزدیک کیبورد ویژهای که روی نمایشگر هوشمند قرار است برای سرفیس نئو آماده عرضه کند. سرفیس نئو اولین کامپیوتر همراه شرکت مایکروسافت است که با دو نمایشگر و به همراه سیستم عامل ویندوز 10 ایکس آماده عرضه میشود. مایکروسافت در طراحی و توسعه این محصول یک کیبورد ویژه […]
سری تبلت های سرفیس پرو
این سری از محصولات شرکت مایکروسافت انعطاف پذیری یک تبلت و در عین حال کارایی و عملکرد یک لپ تاپ را با بازدهی باتری که در طول یک روز به آن نیازمندید در قالب یک دستگاه کاملا قابل حمل به شما ارائه میدهند



















